परिचय
हाइड्रोलिक संक्रमण एडाप्टर एक हिस्सा है जो अलग-अलग हाइड्रोलिक भाग को अच्छी तरह से जोड़ता है। लीक रोकै मा कस के फिट होत है। मजबूत सामग्री से बना, यह उच्च दबाव को संभाल सकत है। ई कारखाना मशीन, खेत औजार औ कार हाइड्रोलिक सिस्टम मा काम करत है। ई कई भागन मा फिट होत है, द्रव का सुचारू रूप से बहत रहत है, लगावै मा आसान है अउर बहुत कम देखभाल के जरूरत है। लंबे उपयोग के लिए ई अच्छा है, जेहिसे ई अलग-अलग हाइड्रोलिक हिस्सन का जोड़ै खातिर स्मार्ट विकल्प बन जात है।



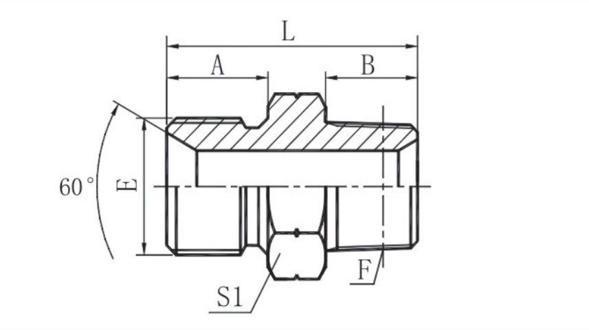
विनिर्देश

|
भाग सं. |
ड्वारा |
आयाम |
||||
|
E |
F |
A |
B |
L |
S1 |
|
|
1 बीटी-02एसपी म |
G1/8*X28 |
R1/6*X28 |
10 |
10 |
26 |
14 |
|
1 बीटी-02-04एसपी म |
G1/8*X28 |
R1/4*X19 |
10 |
14.5 |
30.5 |
14 |
|
1 बीटी-04एसपी म |
G1/4*X19 |
R1/4*X19 |
12 |
14.5 |
32 |
19 |
|
1 बीटी-04-02एसपी म |
G1/4*X19 |
R1/8*X28 |
12 |
10 |
28 |
19 |
|
1 बीटी-04-06एसपी म |
G1/4*X19 |
R3/8*X19 |
12 |
15 |
32 |
19 |
|
1 बीटी-04-08एसपी म |
G1/4*X19 |
R1/2*X14 |
12 |
20 |
40 |
24 |
|
1 बीटी-06-04एसपी म |
G3/8*X19 |
R1/4*X19 |
13.5 |
14.5 |
35.5 |
22 |
|
1 बीटी-06-08एसपी म |
G3/8*X19 |
R1/2*X14 |
13.5 |
20 |
40.5 |
24 |
|
1 बीटी-08एसपी म |
G1/2*X14 |
R1/2*X14 |
16 |
20 |
45 |
27 |
|
1 बीटी-08-04एसपी म |
G1/2*X14 |
R1/4*X19 |
16 |
14.5 |
40.5 |
27 |
|
1 बीटी-08-06एसपी म |
G1/2*X14 |
R3/8*X19 |
16 |
15 |
40 |
27 |
|
1 बीटी-08-12एसपी म |
G1/2*X14 |
R3/4*X14 |
16 |
20 |
45 |
30 |
|
1 बीटी-10-06 पी |
G5/8*X14 |
R3/8*X19 |
17.5 |
15 |
41.5 |
30 |
|
1 बीटी-10-08एसपी म |
G5/8*X14 |
R1/2*X14 |
17.5 |
20 |
46.5 |
30 |
|
1 बीटी-10-12एसपी म |
G5/8*X14 |
R3/4*X14 |
17.5 |
20 |
46.5 |
30 |
|
1 बीटी-10-16एसपी म |
G5/8*X14 |
R1*X11 |
17.5 |
25.5 |
54 |
36 |
|
1 बीटी-12एसपी म |
G3/4*X14 |
R3/4*X14 |
18.5 |
20 |
48.5 |
32 |
|
1 बीटी-12-08एसपी म |
G3/4*X14 |
R1/2*X14 |
18.5 |
20 |
49.5 |
32 |
|
1 बीटी-12-16एसपी म |
G3/4*X14 |
R1*X11 |
18.5 |
25.5 |
53.5 |
36 |
|
1 बीटी-12-20एसपी म |
G3/4*X14 |
R1.14*X11 |
18.5 |
26.5 |
58 |
46 |
|
1 बीटी-16-16एसपी म |
G1*X11 |
R1*X11 |
20.5 |
25.5 |
58 |
41 |
|
1 बीटी-16-12एसपी म |
G1*X11 |
R3/4*X14 |
20.5 |
20 |
53 |
41 |
|
1 बीटी-16-20एसपी म |
G1*X11 |
R1.14*X11 |
20.5 |
26.5 |
60 |
46 |
|
1 बीटी-20एसपी म |
G1.14*X11 |
R1.14*X11 |
20.5 |
26.5 |
62 |
50 |
|
1 बीटी-20-12एसपी म |
G1.14*X11 |
R3/4*X14 |
20.5 |
20.5 |
56 |
50 |
|
1 बीटी-20-16एसपी म |
G1.14*X11 |
R1*X11 |
20.5 |
25.5 |
61 |
50 |
|
1 बीटी-20-24एसपी म |
G1.14*X11 |
R1.12*X11 |
20.5 |
26.5 |
62 |
50 |
|
1 बीटी-24एसपी म |
G1.12*X11 |
R1.12*X11 |
23 |
26.5 |
64.5 |
55 |
|
1 बीटी-24-16एसपी म |
G1.12*X11 |
R1*X11 |
23 |
25.5 |
63.5 |
55 |
|
1 बीटी-24-20एसपी म |
G1.12*X11 |
R1.14*X11 |
23 |
26.5 |
64.5 |
55 |
|
1 बीटी-24-32एसपी म |
G1.12*X11 |
R2*X11 |
23 |
30 |
70 |
65 |
|
1 बीटी-32एसपी म |
G2*X11 |
R2*X11 |
25.5 |
30 |
72.5 |
70 |
|
1 बीटी-32-20एसपी म |
G2*X11 |
R1.14*X11 |
25.5 |
27 |
68.5 |
70 |
|
1 बीटी-32-24एसपी म |
G2*X11 |
R1.12*X11 |
25.5 |
26.5 |
68.5 |
70 |
|
1 बीटी-40एसपी म |
G2.12*X11 |
G2.12*X11 |
32 |
34 |
83 |
90 |
|
1 बीटी-48एसपी म |
G3*X11 |
R3*X11 |
36 |
38 |
94 |
100 |
पैरामीटर/तकनीकी डाटा
|
मूल |
झेजिआंग, चीन म |
डिलीवरी डेट |
बातचीत; बातचीत होगी |
|
प्रमाणन |
जीबी/टी19001-2016 आईएसओ9001: 2015 म |
पक्ब; पकड़ब |
निर्यात मानक |
|
सामान |
कार्बन स्टील |
वारदी |
1 साल |
|
भुगतान अवधि |
टीटी |
MOQ |
2000 |
|
इसथिति |
नवा |
रंग |
सफेद जस्ता, रंग जस्ता |
कंपनी












ऊ
बेहतर क्वालिटी
हमरे पास तकनीकी पता है -} कैसे अउर प्रबंधन अनुभव है। हमार कंपनी पेशेवर क्वालिटी सिस्टम चेक पास कर चुका है।
जादा अनुभव
हमार कंपनी 2011 मा शुरू भा रहा।अब तक, हमार उत्पादन 40 से अधिक देशन मा भेजा गा है, जइसे कि रूस, ऑस्ट्रेलिया, अमेरिका, यूके, जर्मनी, रोमानिया, मैक्सिको, ब्राजील, चिली, कनाडा, स्पेन, कोलंबिया, अउर दूसर। हम अपने ग्राहकन का बहुत बढ़िया सेवा दे सकत हैं।
कई अलग-अलग उत्पाद
हमरे पास हर तरह के जरूरतन के ताई उत्पाद बाय। श्रृंखला 100 से अधिक प्रकार के साथ हैं। हम हाइड्रोलिक फिटिंग, हाइड्रोलिक फेरुल, हाइड्रोलिक एडाप्टर, अउर नायलॉन ट्यूब फिटिंग पर ध्यान केंद्रित करत हैं। यहिसे आपका बहुतै पसंद मिलत है।
कम मुनाफा
हमार कम्पनी मजबूत है। हम विश्वास का महत्व देत हैं, अपने वादे रखत हैं, अउर सुनिश्चित करत हैं कि उत्पाद अच्छा हैं। कई प्रकार और कम दाम के साथ, हमने ग्राहकों का विश्वास कमाया है। हमार बिक्री लगातार 10 साल से बढ़ी है। बूढ़े अउर घर-विदेश के नये ग्राहकन का स्वागत है, फोन करै या बात करै खातिर घूमै खातिर स्वागत है।
बेहतरीन सेवा
ग्राहकन का खुश करब हमेशा फीके मशीनरी के शीर्ष चिंता है। हम कउनौ भी समस्या का हल करै खातिर उत्सुक हन। हम आपके सब सवालन के जवाब देब, जेका जरूरत है, वहिके मदद करब, अउर हर अनुरोध का जवाब देब।
अच्छा स्थान
हम हंगझोउ के नजदीक हैं। हिंया के परिवहन अउर डिलीवरी सिस्टम बहुतै नीक है, जेहिसे सामान आसानी से अउर सुचारू बनावत है।

FAQ
प्रश्न: हमका काहे चुनै का चाही?
उ: हम 10 साल के अनुभव के साथ एक भरोसेमंद हाइड्रोलिक विशेषज्ञ हैं। हमार उत्पाद उच्च - गुण है, 18 -माह वारंटी के साथ आ जाओ, अउर तेजी से जहाज है। हम लागत बचत और विश्वसनीय के बाद के समर्थन भी प्रदान करत हैं।
प्रश्न: आप फैक्ट्री या ट्रेडिंग कंपनी हैं?
उ: हम हाइड्रोलिक फिटिंग का उत्पादन करत हैं, 10 साल से ज्यादा समय तक विनिर्माण अउर आर एंड डी का विशेषज्ञता रखत हैं।
प्रश्न: आपका डिलीवरी का समय का है?
उ: के लिए -स्टॉक आइटम: 7-15 दिन म...
- कय लिए - स्टॉक आइटम: 30-45 दिन (आधार मात्रा पर निर्भर करत ह)।
प्रश्न: आपके भुगतान के शब्दन का का है?
उ: क्रम पुष्टि के बाद 30% जमा, शिपमेंट से पहिले 70% संतुलन।
प्रश्न: का आप नमूना प्रदान करत हई?
क: मानक उ पाद: 2 मुफ्त नमूने (कस्टॉमर शिपिंग का भुगतान करत है)।
कस्टम उत्पाद: नमूना विकल्पन पर चर्चा करै के लिए हमसे संपर्क करा।
प्रश्न: अगर एक गुणवत्ता मुद्दा है तो का होई?
उ: 12 महीने के भीतर डिलीवरी के भीतर, हम सभी गैर--ेन्हुमन नुकसान को कवर करत हंै।
प्रश्न: आपका न्यूनतम ऑर्डर मात्रा (एमओक्यू) का है?
उ: मानक उ पाद: कोई एमओक्यू (1 टुकड़ा भी खरीदें)।
कस्टम उत्पाद: एमओक्यू उत्पाद विवरण पर निर्भर करत...
प्रश्न: का आप मोर ड्राइंग के आधार पर उत्पाद बना सकत हैं?
उ: हाँ, हम कर सकत हैं। कृपया तकनीकी आवश्यकताओं के साथ पूरा ड्राइंग प्रदान क...
प्रश्न: - बिक्री सेवा के बाद का क्या है?
उ: हम रियल- समय मा शिपमेंट का ट्रैक करत हैं अउर ग्राहक संतुष्टि सुनिश्चित करै खातिर फॉलो अप करत हैं।
प्रश्न: आप उत्पाद गुणवत्ता का जांच कैसे करत हैं?
उ: हम सख्त गुणवत्ता नियंत्रण के लिए प्रोफेशनल टेस्ट (नमक स्प्रे, टेनसाइल ताकत, कठोरता आदि) का उपयोग करत हैं।
प्रश्न: का आप ओईएम सेवा प्रदान करत हैं?
उ: हाँ, हम करत हैं। विवरण के लिए हमसे संपर्क करौ।
प्रश्न: आप कौन से पैकेजिंग का उपयोग करत ह?
उ: मानक: कार्टन के बक्से क... अनुरोध पर उपलब्ध कस्टम पैकेजिंग उपलब्ध है।
प्रश्न: कितना जल्दी दाम मिल सकत है?
उ: हम आपकी जांच प्राप्त के बाद 8 घंटे के भीतर जवाब देत हैं।
हॉट टैग: ट्यूब एडाप्टर, चाइना ट्यूब एडाप्टर निर्माता, फैक्ट्री
