परिचय
संक्रमण संयुक्त एक हिस्सा है जो अलग-अलग पाइप या भाग को सुचारू रूप से जोड़ता है। यहिमा लीक रोकै खातिर कड़ा फिट है। मजबूत सामग्री से बना, यह उच्च दबाव को संभाल सकत है। ई कारखाना, जल प्रणाली औ कार के भाग मा काम करत है। ई कई तरह के पाइप मा फिट होत है, तरल पदार्थ या गैस का नींक बहत रहत है, इंस्टॉल करब आसान है अउर बहुत कम देखभाल के जरूरत है। लंबे उपयोग के लिए ई अच्छा है, जेहिसे ई कई नौकरियन मा अलग-अलग हिस्सन का जोड़ै खातिर स्मार्ट विकल्प बन जात है।



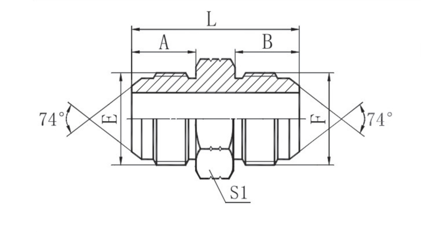
विनिर्देश

|
भाग सं. |
ड्वारा |
आयाम |
||||
|
E |
F |
A |
B |
L |
S1 |
|
|
1J-02 |
5/16"X24 |
5/16"X24 |
11.4 |
11.4 |
29 |
12 |
|
1J-02-03 |
5/16"X24 |
3/8"X24 |
11.4 |
12.2 |
29.5 |
12 |
|
1J-03 |
3/8"X24 |
3/8"X24 |
12.2 |
12.2 |
30.5 |
12 |
|
1J-04 |
7/16"X20 |
7/16"X20 |
14 |
14 |
34 |
12 |
|
1J-04-05 |
7/16"X20 |
1/2"X20 |
14 |
14 |
34 |
14 |
|
1J-04-08 |
7/16"X20 |
3/4"X16 |
14 |
16.7 |
38.5 |
22 |
|
1J-05 |
1/2"X20 |
1/2"X20 |
14 |
14 |
34 |
14 |
|
1J-05-06 |
1/2"X20 |
9/16"X18 |
14 |
14.1 |
34 |
17 |
|
1J-05-08 |
1/2"X20 |
3/4"X16 |
14 |
16.7 |
38.5 |
22 |
|
1J-05-10 |
1/2"X20 |
7/8"X14 |
14 |
19.3 |
41 |
24 |
|
1J-06 |
9/16"X18 |
9/16"X18 |
14.4 |
14.1 |
34.2 |
17 |
|
1J-06-08 |
9/16"X18 |
3/4"X16 |
14.1 |
16.7 |
38.5 |
22 |
|
1J-06-10 |
9/16"X18 |
7/8"X14 |
14.1 |
19.3 |
41.5 |
24 |
|
1J-06-12 |
9/16"X18 |
1.1/16"X12 |
14.1 |
21.9 |
46 |
30 |
|
1J-08 |
3/4"X16 |
3/4"X16 |
16.7 |
16.7 |
42 |
22 |
|
1J-08-10 |
3/4"X16 |
7/8"X14 |
16.7 |
19.3 |
44 |
24 |
|
1J-08-12 |
3/4"X16 |
1.1/16"X12 |
16.7 |
21.9 |
48.5 |
30 |
|
1J-08-16 |
3/4"X16 |
1.5/16"X12 |
16.7 |
23.1 |
51 |
36 |
|
1J-10 |
7/8"X14 |
7/8"X14 |
19.3 |
19.3 |
46.5 |
24 |
|
1J-10-12 |
7/8"X14 |
1.1/16"X12 |
19.3 |
21.9 |
51 |
30 |
|
1J-10-16 |
7/8"X14 |
1.5/16"X12 |
19.3 |
23.1 |
53.5 |
36 |
|
1J-12 |
1.1/16"X12 |
1.1/16"X12 |
21.9 |
21.9 |
54 |
30 |
|
1J-12-14 |
1.1/16"X12 |
1.3/16"X12 |
21.9 |
22.6 |
55.5 |
32 |
|
1J-12-16 |
1.1/16"X12 |
1.5/16"X12 |
21.9 |
23.1 |
56 |
36 |
|
1J-14 |
1.3/16"X12 |
1.3/16"X12 |
22.6 |
22.6 |
56 |
32 |
|
1J-14-16 |
1.3/16"X12 |
1.5/16"X12 |
22.6 |
23.1 |
56.5 |
36 |
|
1J-16 |
1.5/16"X12 |
1.5/16"X12 |
23.1 |
23.1 |
57 |
36 |
|
1J-16-20 |
1.5/16"X12 |
1.5/8"X12 |
23.1 |
24.3 |
60.5 |
46 |
|
1J-16-24 |
1.5/16"X12 |
1.7/8"X12 |
23.1 |
27.5 |
65.5 |
50 |
|
1J-20 |
1.5/8"X12 |
1.5/8"X12 |
24.3 |
24.3 |
62 |
46 |
|
1J-20-24 |
1.5/8"X12 |
1.7/8"X12 |
24.3 |
27.5 |
67 |
50 |
|
1J-20-32 |
1.5/8"X12 |
2.1/2"X12 |
24.3 |
33.9 |
75 |
65 |
|
1J-24 |
1.7/8"X12 |
1.7/8"X12 |
27.5 |
27.5 |
70 |
50 |
|
1J-24-32 |
1.7/8"X12 |
2.1/2"X12 |
27.5 |
33.9 |
78.5 |
65 |
|
1J-32 |
2.1/2"X12 |
2.1/2"X12 |
33.9 |
33.9 |
85 |
65 |
पैरामीटर/तकनीकी डाटा
|
मूल |
झेजिआंग, चीन म |
डिलीवरी डेट |
बातचीत; बातचीत होगी |
|
प्रमाणन |
जीबी/टी19001-2016 आईएसओ9001: 2015 म |
पक्ब; पकड़ब |
निर्यात मानक |
|
सामान |
कार्बन स्टील |
वारदी |
1 साल |
|
भुगतान अवधि |
टीटी |
MOQ |
2000 |
|
इसथिति |
नवा |
रंग |
सफेद जस्ता, रंग जस्ता |
कंपनी












ऊ
शीर्ष गुणवत्ता
हमार कुशल टीम उच्च मानक सुनिश्चित करत है।हम सख्त गुणवत्ता नियंत्रण का पालन करत हैं अउर पेशेवर प्रमाण पत्र धारण करत हैं।
10+ अनुभव कय साल
2011 से, हमने 40+ देशन मा ग्राहकन का सेवा दिहिन, जेहिमा यूएसए, जर्मनी, ऑस्ट्रेलिया, अउर बहुत कुछ शामिल है। विश्वसनीय उत्पादन अउर उत्कृष्ट सेवा के लिए भरोसा कीन गा है।
चौड़ा उत्पाद रेंज म
4 मु य उ पाद लाइन (हाइड्रॉलिक फिटिंग, फेरुल, एडाप्टर, और नायलॉन ट्यूब फिटिंग)।
सस्ती कीमत
हम 10 साल म ईमानदार सौदे और लगातार वृि के लए व व भर म ग्राहक वारा व व भरत ग्राहक वारा वा तव म व त ।
ग्राहक- पहिले सेवा
आपका संतुष्टि हमार प्राथमिकता है।कौनो भी मुद्दा के लिए प्रतिक्रिया अउर समाधान।
सुविधाजनक स्थान
हंगझोउ के पास, तेजी से डिलीवरी के लिए आसान शिपिंग अउर रसद के साथ।

FAQ
प्रश्न: हमार कंपनी का चुनाव काहे का?
उ: सबसे पहले, अग्रणी तकनीक, आपूर्ति श्रृंखला गारंटी, लागत प्रतिस्पर्धा, चिंता - मुक्त अनुपालन, और सेवा प्रतिबद्धता के साथ, हम आपके लिए बनावत हैं: लंबे सेवा जीवन, कम व्यापक लागत अउर तेजी से बाजार के प्रतिक्रिया।
प्रश्न: हम कारखाना या ट्रेडिंग कंपनी है?
उ: हम हाइड्रोलिक जोड़ों का एक निर्माता है, फैक्ट्री डायरेक्ट सप्लाई मूल्य
प्रश्न: हमार डिलीवरी का समय कब तक है?
उ: अगर स्टॉक मा होत है तौ आमतौर पै 7-15 दिन लागत है। अगर आवश्यक मात्रा बड़ी है, तो यह विशिष्ट स्थिति पर निर्भर करत है
प्रश्न: हमार भुगतान के शब्द का हैं?
उ: आदेश को ताला लगाने के लए केवल 30% डाउन पेमेंट के आव यक है, और शेष 70% का भुगतान loding of loding
प्रश्न: हम नमूना प्रदान कर सकत हैं? / का हम मुफ्त नमूना दे सकत हैं?
उ: मौजूदा सूची के लए, 2 नमूने मुफ्त के लए उपल ध कराया जा सकता है (प्रतिदिन भुगतान करना); अनुकूलित उत्पादों के लिए, कृपया हमसे संपर्क करे कि सबसे किफायती नमूना समाधान को अनुकूलित करे
प्रश्न: अगर हम उपयोग के दौरान गुणवत्ता वाली समस्याओं का मिले तो हम का करब?
उ: 365 - दिवस गुणवत्ता गारंटी है, और गैर-मानव दोष उत्पाद बिना शर्त बदली जाएंगे
प्रश्न: हमार एमओक्यू का है?
उ: खुदरा म मौजूदा स्टॉक मंगवाया जा सकता है; अनुकूलित उत्पादों के लिए, न्यूनतम आदेश मात्रा का निर्धारण आकार / प्रक्रिया आवश्यकताओं के अनुसार किया जाएगा
प्रश्न: का हम ड्राइंग के अनुसार उत्पाद का उत्पादन कर सकत हैं?
उ: ड्राइंग के अनुसार सख्त प्रक्रिया, उत्पादित नमूने का परीक्षण, और सामूहिक उत्पादन से पहले पुष्टि करत
प्रश्न: हमार बाद -गेसिक सेवा क्या है?
उ: एक चिंता - मुक्त वितरण योजना है, पूरी प्रक्रिया का पालन करें, और प्रमुख नोड्स के पुष्टि करें
प्रश्न: हम अपने उत्पादन के गुणवत्ता का जांच कैसे करत हैं?
उ: सामग्री से तैयार उत्पादन तक, हम उच्च - सटीक परीक्षण उपकरण का उपयोग करत हैं ताकि ई सुनिश्चित कीन जा सके कि हर उत्पाद मानक का पूरा करत है
प्रश्न: हमार कंपनी के ओईएम सेवा है?
उ: बेशक, हम ओईएम के साथ सहयोग कर सकत हैं। अगर आपका विशिष्ट कार्यान्वयन योजना जानय के जरूरत है, त कृपया हमसे संपर्क करे
प्रश्न: हमरे पास कौन तरह का पैकेजिंग है?
उ: मानक पैकेजिंग नालीदार बक्से का उपयोग करत है, अउर हम ग्राहक के जरूरत के अनुसार अनुकूलित पैकेजिंग समाधान का समर्थन करत हैं
प्रश्न: दाम कब मिल सकत है?
उ: आपकी खरीद दक्षता सुनिश्चित करै के लिए, हम जांच जानकारी प्राप्त करै के बाद 8 घंटा के भीतर उद्धरण पूरा करै का वादा करत हैं
हॉट टैग: संक्रमण संयुक्त, चीन संक्रमण संयुक्त निर्माता, कारखाना
